Microtech
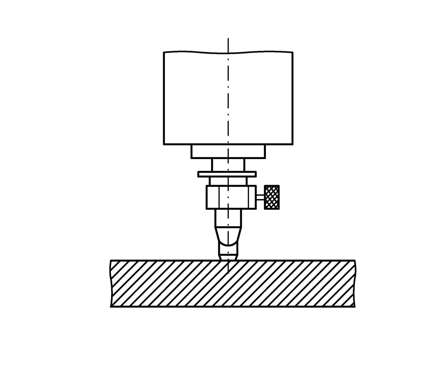
DataMet Dial Comparator
DataMet Dial Comparator
Couldn't load pickup availability
SKU:120120288
MICROTECH manufacturing DataMet Sub-micron comparator adopted to Industry 4.0
Tablet mikrokators are using computerized measuring system developed and patented by MICROTECH (Patents UA126928, UA99686) with 0.1 micron resolution.
0.03mm Range (0.010")
28mm Stem
0.5um Accuracy (20uin)
0.1um Resolution
2Nm Force
Computerized MICS measuring system of indicator equipped with internal memory, Go/NoGo functions with color indication, Max/min, Timer, PIN code, Formula function, manual temperature and error compensation. Color hi-res display and Touchscreen provides high usability of sub-micron indicator. It’s not necessary to spend extra money for batteries, with Built in rechargeable Li-pol battery.
-Color Go/NoGo indication (limits)
-Internal memory with statistic mode
-Peak function (Min/Max)
-Timer (reading to memory or data transfer)
-Formula – calculation indicator Ax2+Bx+C
-Resolution selection (0,1 / 1/ 10 microns)
-mm/inch selection
-Temperature compensation
-Mathematical error compensation
-Wireless data transfer to Windows, iOS, Android devices
-USB HID data transfer to Windows, MacOS, Linux, Android devices (keyboard mode)
-Built in rechargeable Li-Pol battery with magnetic charger
-Color hi-res display 1,54 inch with Touchscreen.
MICROTECH Computerized indicators has USB HID data transfer function to send actual data and data from memory directly to any application in Windows, Linux, MacOS, Android systems in keyboard mode with usual USB cable with no special software.
All precision MICROTECH indicators pass metrological control in an automatic calibration stand in an accredited ISO 17025:2019 calibration lab.
SHIPPING - Popular Microtech items are held in US stock, however MOST items are imported in bi-monthly bulk shipments. After which they are split up and shipped out to customers. Therefore it may take 2-4wks to receive your Microtech item. If an item is on back-order then we will contact you. Otherwise please be patient and we will provide domestic tracking info as soon as we can. When in doubt, use our Contact Us form to ask questions.
Share
